Centímetros Cúbicos» Noticias Motor

Centímetros Cúbicos

Jamás se te volverá a derramar una bebida en el coche gracias a este invento de Ford

Jamás se te volverá a derramar una bebida en el coche gracias a este invento de Ford

-ford-patente-bebida-coche-0817-01.jpg

ford-patente-bebida-coche-0817-01Centímetros Cúbicos

Publicidad

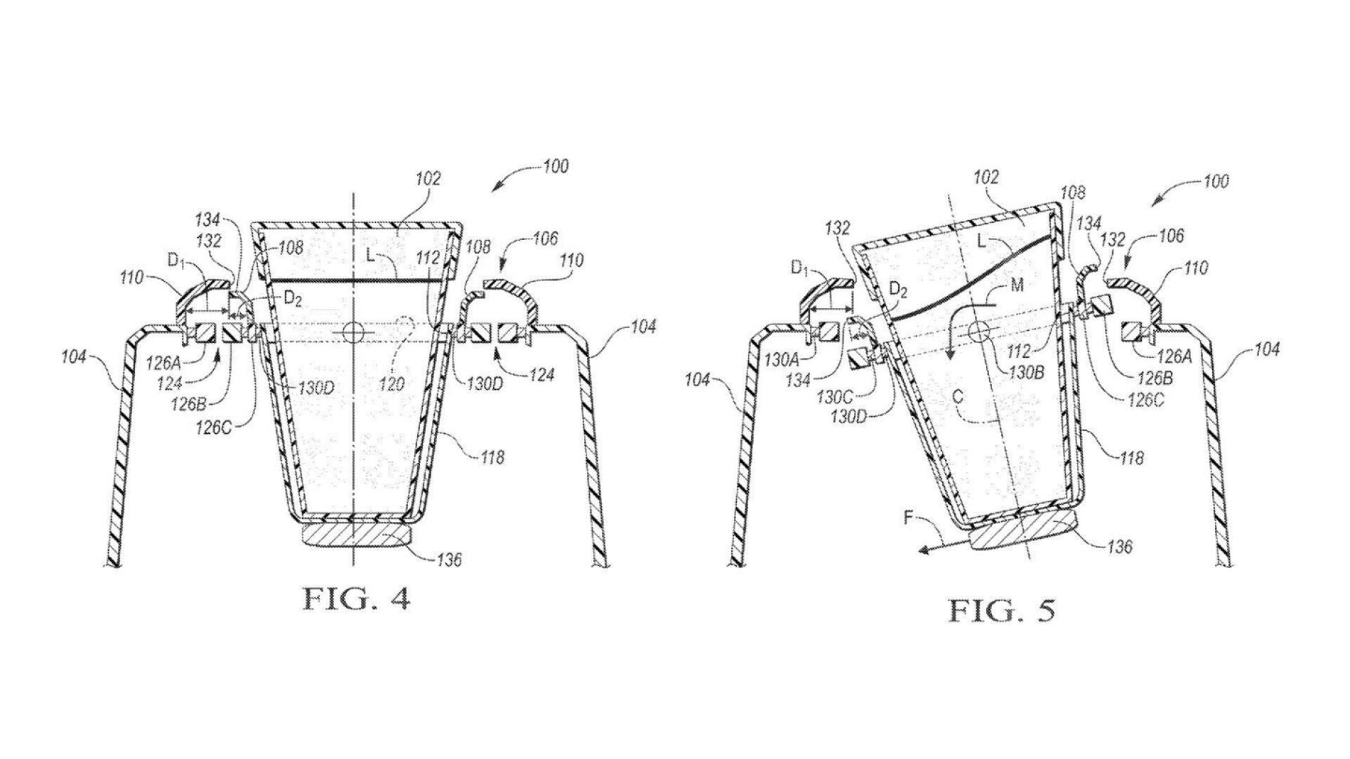
Llevar una bebida en el coche, por bien sujeta que esta esté, siempre supone un riesgo evidente de derrame. Aunque los huecos porta vasos consiguen que podemos tener a mano y bien sujetos los recipientes, si estos está muy llenos o se ven sometidos a giros bruscos, fuertes aceleraciones o frenazos, es muy probable que el líquido termine por salirse del recipiente para acabar por todo el coche.
ford-patente-bebida-coche-0817-02
ford-patente-bebida-coche-0817-02 | Centímetros Cúbicos
Este problema podría tener los días contados gracias a la última patente de Ford. El fabricante norteamericano ha diseñado un dispositivo para bebidas que permite que la sujeción de la bebida se adapte al movimiento del vehículo para así conseguir que el fluido contenido en el recipiente experimente las mismas fuerzas que el vehículo sin derramarse. Hablamos por lo tanto de un sistema que hará que nuestro recipiente se mueva en el mismo sentido y magnitud que lo hace el coche, con lo que conseguirá literalemente que ni una sola gota abandone el recipiente. El sistema de sujeción consta de varios ejes de movimiento en los que se puede desplazar el recipiente que se ha insertado en él, de este modo el sistema contrarresta los movimientos del vehículo para conseguir que el fluido del recipiente también se mueva de forma constante. En Centímetros Cúbicos: |

Publicidad