Astronomía, divulgación, descubrimientos, ecología, innovación...

¿Qué es lo que más hemos preguntado a Alexa durante 2024 en España?

La nueva Alexa de Amazon con IA no será gratuita, y este sería su precio

Disfruta del día del libro desde tus dispositivos Alexa

Hacer la compra ahora es más sencillo con el nuevo widget de Alexa

Utiliza Google Home o Amazon Alexa para convertir divisas al instante

Cómo saber cuándo llegan tus pedidos de Amazon gracias a Amazon Echo

Cinco gadgets con el asistente Alexa integrado que no son de Amazon

¿Te mueves en Metro?, entonces estas Skills de Alexa son imprescindibles para ti

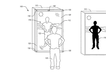
Amazon crea un espejo mágico para probarte ropa virtual










