
Más de la mitad de los hogares españoles no podría instalar un cargador eléctrico para el coche

Fastned desembarca en España con su primera estación de recarga ultrarrápida para vehículos eléctricos

Estos son los eléctricos que más rápido cargan la batería: el mejor, a punto de llegar a España

Lo último de Mercadona no irá a tu nevera, pero pretende poner en jaque a las grandes empresas de cargadores de coches eléctricos

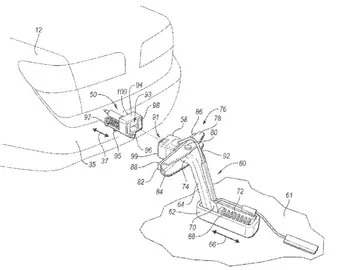
Ford patenta el sistema que promete hacer más fácil la vida con el coche eléctrico

Francia quiere poner fin a la crisis energética… prohibiendo cargar el coche eléctrico en determinados horarios

Cargadores sí o sí: los edificios residenciales tendrán cargadores en sus aparcamientos

Así es el centro de carga de Audi con salón de primera incluido

Así es la brutal electrolinera alemana que puede recargar hasta 2.000 coches diarios

Iberdrola y Lexus se unen para potenciar una red completa de cargadores eléctricos para sus clientes

Proyecto Ferrolinera: ¿y si el AVE es la clave para que los coches eléctricos despeguen en España?






